| (a) Mida la resistencia según los valores de la siguiente tabla. Resistencia estándar: Interruptor de deslizamiento 
			Interruptor de movimiento vertical delantero
				| Conexión del tester | Estado | Valor especificado |  
				| 2 - 11 | Interruptor de deslizamiento pulsado (Parte delantera) | Inferior a 1 Ω |  
				| 5 - 8 |  
				| 2 - 11 | Desactivado |  
				| 5 - 11 |  
				| 2 - 8 | Interruptor de deslizamiento pulsado (parte trasera) |  
				| 5 - 11 |  
			Interruptor de elevación
				| Conexión del tester | Estado | Valor especificado |  
				| 1 - 8 | Interruptor de movimiento vertical delantero pulsado (hacia arriba) | Inferior a 1 Ω |  
				| 6 - 11 |  
				| 1 - 11 | Desactivado |  
				| 6 - 11 |  
				| 1 - 11 | Interruptor de movimiento vertical delantero pulsado (hacia abajo) |  
				| 6 - 8 |  
			Interruptor de reclinado
				| Conexión del tester | Estado | Valor especificado |  
				| 3 - 8 | Interruptor de elevación pulsado (hacia arriba) | Inferior a 1 Ω |  
				| 4 - 11 |  
				| 3 - 11 | Desactivado |  
				| 4 - 11 |  
				| 3 - 11 | Interruptor de elevación pulsado (hacia abajo) |  
				| 4 - 8 |  
			
				| Conexión del tester | Estado | Valor especificado |  
				| 9 - 11 | Interruptor de reclinado pulsado (Parte delantera) | Inferior a 1 Ω |  
				| 10 - 1 |  
				| 10 - 6 |  
				| 10 - 8 |  
				| 9 - 11 | Desactivado |  
				| 10 - 11 |  
				| 9 - 3 | Interruptor de reclinado pulsado (parte trasera) |  
				| 9 - 4 |  
				| 9 - 8 |  
				| 10 - 11 |  Si el resultado no es el especificado, sustituya el conjunto del interruptor 
		del asiento eléctrico delantero. | 
			
				|   |  
				| 
					
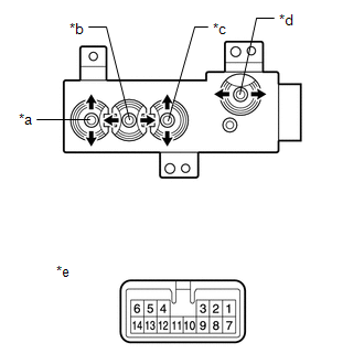
						| *a | Interruptor de movimiento vertical delantero |  
						| *b | Interruptor de deslizamiento |  
						| *c | Interruptor de elevación |  
						| *d | Interruptor de reclinado |  
						| *e | Componente no conectado al mazo de cables (Interruptor del asiento eléctrico delantero) |  |  |