Toyota Corolla Manual de Taller: Desmontaje

DESMONTAJE

PROCEDIMIENTO

1. EXTRAIGA LA CUBIERTA DE LA BISAGRA DEL REPOSABRAZOS CENTRAL (para el lado derecho)

(a) Con reposabrazos:

(1) Desenganche la garra y extraiga la cubierta de la bisagra del reposabrazos central como se observa en la ilustración.

2. EXTRAIGA EL CONJUNTO DEL REPOSABRAZOS CENTRAL DEL ASIENTO TRASERO (para el lado derecho)

(a) Con reposabrazos:

(1) Extraiga el perno y el casquillo.

(2) Desenganche la guía como indican las flechas, en el orden que se muestra en la ilustración y extraiga el conjunto del reposabrazos central del asiento trasero.

(3) Extraiga el casquillo tal y como se muestra en la ilustración.

3. EXTRAIGA EL BOTÓN DE DESBLOQUEO DEL RESPALDO DEL ASIENTO TRASERO (para el lado derecho)

(a) Extraiga el botón de desbloqueo del respaldo del asiento trasero como se observa en la ilustración.

4. EXTRAIGA LA GUÍA DEL CINTURÓN DE HOMBRO DEL ASIENTO TRASERO DERECHO (para el lado derecho)

(a) Quite el tornillo.

(b) Desenganche la guía para extraer la guía del cinturón del hombro del asiento trasero derecho.

5. EXTRAIGA LA GUÍA DEL CINTURÓN DE HOMBRO CENTRAL DEL ASIENTO TRASERO (para el lado derecho)

(a) Quite el tornillo.

(b) Desenganche las 2 guías y extraiga la guía del cinturón de hombro central del asiento trasero.

6. EXTRAIGA LA FUNDA DEL RESPALDO DEL ASIENTO TRASERO INDIVIDUAL CON ALMOHADILLA (para el lado derecho)

(a) Fabricados por TMMC:

(1) Quite los 3 clips.

(2) Desenganche las 3 fijadores como se muestra en la ilustración.

Fijador

(3) Quite los 2 clips.

(4) Desenganche los 8 ganchos.

(5) Extraiga los 3 anillos abiertos.

(6) Desenganche las 4 garras y extraiga los 2 soportes centrales de los reposacabezas del asiento trasero.

(7) Extraiga la funda del respaldo del asiento trasero individual con almohadilla.

(b) Fabricados por TMMMS:

(1) Quite los 3 clips.

(2) Abra el fijador tal como se muestra en la ilustración.

(3) Desenganche las 4 fijadores como se muestra en la ilustración.

Fijador

(4) Extraiga los 8 anillos abiertos.

(5) Desenganche las 4 garras y extraiga los 2 soportes centrales de los reposacabezas del asiento trasero.

(6) Extraiga la funda del respaldo del asiento trasero individual con almohadilla.

7. EXTRAIGA LA FUNDA DEL RESPALDO DEL ASIENTO TRASERO DE TIPO INDIVIDUAL (para el lado derecho)

(a) Fabricados por TMMC:

(1) Sin reposabrazos:

  1. Extraiga los 5 anillos abiertos y desenganche el fijador y extraiga la funda del respaldo del asiento trasero de tipo individual derecha de la almohadilla del respaldo del asiento trasero derecho de tipo individual con la almohadilla del reposacabezas del asiento trasero derecho.

    Fijador

(2) Con reposabrazos:

  1. Extraiga los 11 anillos abiertos y desenganche el fijador y extraiga la funda del respaldo del asiento trasero de tipo individual derecha de la almohadilla del respaldo del asiento trasero derecho de tipo individual con la almohadilla del reposacabezas del asiento trasero derecho.

    Fijador

(b) Fabricados por TMMMS:

(1) Sin reposabrazos:

  1. Extraiga los 9 anillos abiertos y la funda del respaldo del asiento trasero individual derecho de la almohadilla del respaldo del asiento trasero individual derecho.

(2) Con reposabrazos:

  1. Extraiga los 15 anillos abiertos y la funda del respaldo del asiento trasero individual derecho de la almohadilla del respaldo del asiento trasero individual derecho.

8. EXTRAIGA EL CONJUNTO DE BLOQUEO DEL RESPALDO DEL ASIENTO TRASERO DERECHO (para el lado derecho)

(a) Extraiga las 2 tuercas y el conjunto de bloqueo del respaldo del asiento trasero derecho del subconjunto del bastidor del respaldo del asiento trasero derecho.

9. EXTRAIGA EL BOTÓN DE DESBLOQUEO DEL RESPALDO DEL ASIENTO TRASERO (para el lado izquierdo)

(a) Extraiga el botón de desbloqueo del respaldo del asiento trasero como se observa en la ilustración.

10. EXTRAIGA EL OJAL DEL BOTÓN DE PARADA DEL RESPALDO DEL ASIENTO TRASERO (para el lado izquierdo)

(a) Desenganche las 2 garras y extraiga el ojal del botón de detención del respaldo del asiento trasero.

11. EXTRAIGA LA GUÍA DEL CINTURÓN DE HOMBRO DEL ASIENTO TRASERO IZQUIERDO (para el lado izquierdo)

(a) Quite el tornillo.

(b) Desenganche la guía para extraer la guía del cinturón del hombro del asiento trasero izquierdo.

12. EXTRAIGA LA FUNDA DEL RESPALDO DEL ASIENTO TRASERO INDIVIDUAL CON ALMOHADILLA (para el lado izquierdo)

(a) Fabricados por TMMC:

(1) Quite los 2 clips.

(2) Desenganche las 3 fijadores como se muestra en la ilustración.

Fijador

(3) Quite los 2 clips.

(4) Desenganche los 6 ganchos.

(5) Extraiga los 2 anillos abiertos.

(6) Extraiga la funda del respaldo del asiento trasero individual con almohadilla.

(b) Fabricados por TMMMS:

(1) Quite los 2 clips.

(2) Abra el fijador tal como se muestra en la ilustración.

(3) Desenganche las 4 fijadores como se muestra en la ilustración.

Fijador

(4) Extraiga los 7 anillos abiertos.

(5) Extraiga la funda del respaldo del asiento trasero individual con almohadilla.

13. EXTRAIGA LA FUNDA DEL RESPALDO DEL ASIENTO TRASERO IZQUIERDO DE TIPO INDIVIDUAL (para el lado izquierdo)

(a) Fabricados por TMMC:

Fijador

(1) Extraiga los 5 anillos abiertos y desenganche el fijador y extraiga la funda del respaldo del asiento trasero de tipo individual izquierda de la almohadilla del respaldo del asiento trasero izquierdo de tipo individual con la almohadilla del reposacabezas del asiento trasero izquierdo.

(b) Fabricados por TMMMS:

(1) Extraiga los 9 anillos abiertos y la funda del respaldo del asiento trasero izquierdo individual de la almohadilla del respaldo del asiento trasero izquierdo individual.

14. EXTRAIGA EL CONJUNTO DE BLOQUEO DEL RESPALDO TRASERO IZQUIERDO (para el lado izquierdo)

(a) Extraiga las 2 tuercas y el conjunto de bloqueo del respaldo del asiento trasero izquierdo del subconjunto del bastidor del respaldo del asiento trasero izquierdo.

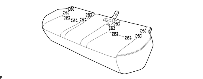
15. EXTRAIGA LA FUNDA DEL COJÍN DE LOS ASIENTOS TRASEROS DE TIPO BANCO

(a) Fabricados por TMMC:

(1) Extraiga los 21 anillos abiertos.

(2) Extraiga los 12 anillos abiertos.

Fijador

-

-

(3) Desenganche los 2 fijadores para extraer la funda del cojín de los asientos traseros de tipo banco de la almohadilla del cojín del asiento trasero de tipo banco.

(b) Fabricados por TMMMS:

(1) Extraiga los 27 anillos abiertos.

(2) Extraiga los 12 anillos abiertos y la funda del cojín del asiento trasero de tipo banco de la almohadilla del cojín del asiento trasero de tipo banco.

    ExtracciÓn

    Montaje

    Ver más:

    Toyota Corolla Manual de Taller > Sistema De Alerta De Cambio Involuntario De Carril (con Control De La Dirección): Terminales De La Ecu
    TERMINALES DE LA ECU AVISO: Es posible que se emitan DTC cuando se desconecten los conectores durante la inspección. Por lo tanto, asegúrese de borrar los DTC con el Techstream una vez que haya finalizado la inspección. No ejerza demasiada fuerza en el conector O9 de la cámara de reconocimiento ...

    Toyota Corolla Manual del propetario

    Toyota Corolla Manual de Taller

    © 2026 Copyright www.tocores.net
    0.0077