Toyota Corolla Manual de Taller: Componentes

COMPONENTES

ILUSTRACIÓN

*1

SUBCONJUNTO DE LA BOQUILLA DE ACEITE N° 1

*2

CAJA DE VENTILACIÓN N° 1

*3

PASADOR DE ANILLO

*4

PASADOR RECTO

*5

ESPÁRRAGO PRISIONERO

-

-

N*m (kgf*cm, lbf*pi.): Par de apriete especificado

-

-

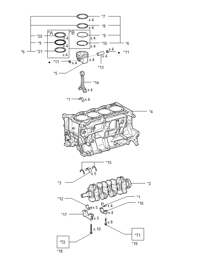
ILUSTRACIÓN

*A

Para tipo de 3 piezas:

*B

Para tipo de 2 piezas:

*1

COJINETE DE LA BIELA

*2

CIGÜEÑAL

*3

COJINETE SUPERIOR DEL CIGÜEÑAL

*4

SUBCONJUNTO DEL BLOQUE DE CILINDROS

*5

PISTÓN

*6

JUEGO DE SEGMENTOS DE PISTÓN

*7

ANILLO DE COMPRESIÓN N° 1

*8

ANILLO DE COMPRESIÓN N° 2

*9

EXPANSOR DEL ANILLO DE LUBRICACIÓN

*10

ANILLO DE LUBRICACIÓN

*11

ANILLO DE RETENCIÓN DEL ORIFICIO DEL PASADOR DEL PISTÓN

*12

COJINETE INFERIOR DEL CIGÜEÑAL

*13

PASADOR DEL PISTÓN

*14

BIELA

*15

ARANDELA DE EMPUJE DEL CIGÜEÑAL SUPERIOR

*16

SOMBRERETE DE LA BIELA

*17

SOMBRERETE DEL CIGÜEÑAL

*18

PERNO DE FIJACIÓN DE SOMBRERETES DEL CIGÜEÑAL

*19

PERNO DE LA BIELA

*20

RIEL LATERAL SUPERIOR

*21

RIEL LATERAL INFERIOR

-

-

N*m (kgf*cm, lbf*pi.): Par de apriete especificado

Pieza no reutilizable

*T1

1°: 20 (204, 15)

2°: Girar 90°

*T2

1°: 40 (408, 30)

2°: Girar 90°

    Bloque De Cilindros

    Desmontaje

    Ver más:

    Toyota Corolla Manual de Taller > Sistema Sfi: Flujo de purga incorrecto del sistema de control de emisiones evaporables (P0441)
    RESUMEN DE DTC N° de DTC Elemento detectado Condición de detección del DTC Área afectada MIL Memoria Nota P0441 Flujo de purga incorrecto del sistema de control de emisiones evaporables Se cumple alguna de las condiciones siguientes: La bomba de detección de fugas crea una presión negativa (va ...

    Toyota Corolla Manual del propetario

    Toyota Corolla Manual de Taller

    © 2025 Copyright www.tocores.net
    0.0073