Toyota Corolla Manual de Taller: InstalaciÓn

INSTALACIÓN

PROCEDIMIENTO

1. INSTALE EL SUBCONJUNTO DE LA MANGUERA DE VENTILACIÓN DEL DEPÓSITO DE COMBUSTIBLE

(a) Coloque el subconjunto de la manguera de ventilación del depósito de combustible en la abrazadera del depósito de combustible.

2. INSTALE EL SUBCONJUNTO DEL TUBO PRINCIPAL DEL DEPÓSITO DE COMBUSTIBLE

(a) Instale el subconjunto del tubo principal del depósito de combustible en el conjunto del depósito de combustible.

3. INSTALE EL ELEMENTO AMORTIGUADOR DEL DEPÓSITO DE COMBUSTIBLE

(a) Instale los 2 nuevos amortiguadores del depósito de combustible n° 1, un nuevo amortiguador del depósito de combustible n° 2 y un nuevo amortiguador del depósito de combustible n° 3 en el conjunto del depósito de combustible.

*1

Amortiguador del depósito de combustible n° 1

*2

Amortiguador del depósito de combustible n° 2

*3

Amortiguador del depósito de combustible n° 3

4. INSTALE EL CONJUNTO DEL DEPÓSITO DE COMBUSTIBLE

(a) Coloque el conjunto del depósito de combustible en un elevador del motor.

OBSERVACIÓN:

Coloque el conjunto del depósito de combustible en horizontal con ayuda de accesorios de altura regulable y accesorios de elevación.

(b) Utilice un elevador del motor para levantar lentamente el conjunto del depósito de combustible y, a continuación, instale el conjunto del depósito de combustible con el subconjunto izquierdo de la banda del depósito de combustible n° 1, el subconjunto derecho de la banda del depósito de combustible n° 1 y los 4 pernos.

AVISO:

  • Tenga cuidado de que no se caiga el conjunto del depósito de combustible.
  • Cuando instale el conjunto del depósito de combustible, inclínelo levemente para evitar que interfiera con el brazo de la suspensión u otras piezas circundantes.

Torque:

39.2 N·m {400 kgf·cm, 29 ft·lbf}

5. CONECTE EL DEPÓSITO DE COMBUSTIBLE A LA MANGUERA DEL TUBO DE LLENADO

(a) Conecte la manguera que va desde el depósito de combustible hasta el tubo de llenado al conjunto del depósito de combustible y apriete la abrazadera para fijarla.

OBSERVACIÓN:

Asegúrese de que el perno de la abrazadera se encuentra dentro de la zona que se muestra en la ilustración.

*a

Superior

*b

Vista A

*c

90°

*d

45°

(b) Enganche la garra y, a continuación, coloque la tapa del tubo de llenado del depósito de combustible entre el depósito de combustible y la manguera del tubo de llenado.

6. CONECTE EL SUBCONJUNTO DEL TUBO PRINCIPAL DEL DEPÓSITO DE COMBUSTIBLE

(a) Conecte el subconjunto del tubo principal del depósito de combustible

AVISO:

Compruebe si hay daños o partículas extrañas en las piezas de conexión de los tubos de combustible.

*a

Retén

*b

Junta tórica

*c

Conector del tubo de combustible

*d

Tubo de combustible

Empujar

Pulsar

(1) Alinee el conector del tubo de combustible con el tubo de combustible, y empálmelos hasta que el conector haga "clic". Si le resulta difícil insertar el tubo de combustible en el conector del tubo de combustible, vierta una pequeña cantidad de aceite de motor limpio en el extremo del tubo y vuelva a introducirlo.

(2) Conecte la tubería de combustible y empuje el retén. Compruebe que la tubería de combustible y el conector del tubo de combustible están firmemente conectados. Para ello, tire de ellos.

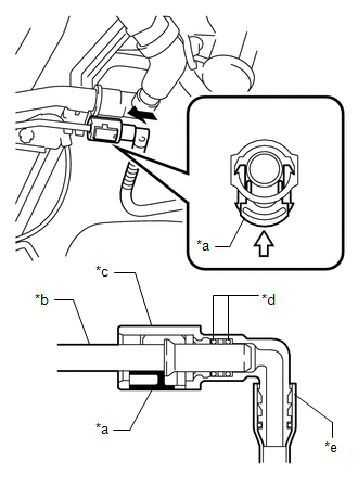
7. CONECTE EL TUBO DE VENTILACIÓN DEL DEPÓSITO DE COMBUSTIBLE

(a) Conecte el tubo de ventilación del depósito de combustible con la abrazadera.

(b) Conecte el tubo de aireación del depósito de combustible.

*a

Retén

*b

Tubo de combustible

*c

Conector del tubo de combustible

*d

Junta tórica

*e

Tubo de nailon

Empujar

Pulsar

AVISO:

Compruebe si hay daños o partículas extrañas en las piezas de conexión de los tubos de combustible.

(1) Alinee el conector del tubo de combustible con el tubo de combustible, y empálmelos hasta que el conector haga "clic". Si le resulta difícil insertar el tubo de combustible en el conector del tubo de combustible, vierta una pequeña cantidad de aceite de motor limpio en el extremo del tubo y vuelva a introducirlo.

(2) Conecte las tuberías de combustible y empuje el retén para enganchar las 2 garras. Compruebe que la tubería de combustible y el conector del tubo de combustible están firmemente conectados. Para ello, tire de ellos.

8. CONECTE EL SUBCONJUNTO DE LA MANGUERA DE VENTILACIÓN DEL DEPÓSITO DE COMBUSTIBLE

(a) Introduzca el subconjunto de la manguera de ventilación del depósito de combustible en el conjunto del recipiente de carbón y presione el retén para enganchar las garras de bloqueo.

AVISO:

  • Antes de realizar esta operación, compruebe que no hay arañazos ni partículas extrañas en torno a las piezas de conexión del conector del subconjunto de la manguera de ventilación del depósito de combustible y el conjunto del recipiente de carbón.
  • Después de conectar el subconjunto de la manguera de ventilación del depósito de combustible, verifique que éste se encuentra conectado con seguridad tirando de él.

*a

Retén

Empujar

Pulsar

9. INSTALE EL CONJUNTO DEL CABLE DEL FRENO DE ESTACIONAMIENTO

(a) Instale los conjuntos del cable del freno de estacionamiento n° 2 y n° 3 con los 4 pernos.

Torque:

6.0 N·m {61 kgf·cm, 53 in·lbf}

10. INSTALE EL PROTECTOR DEL DEPÓSITO DE COMBUSTIBLE N° 1

(a) Instale el protector del depósito de combustible n° 1 con los 5 pernos.

Torque:

5.4 N·m {55 kgf·cm, 48 in·lbf}

11. COLOQUE EL CONJUNTO DEL TUBO DE ESCAPE DELANTERO (TWC: Catalizador delantero y trasero)

Haga clic aquí

12. COLOQUE EL CONJUNTO DEL TUBO DE ASPIRACIÓN DE COMBUSTIBLE CON BOMBA Y MEDIDOR

Haga clic aquí

    ExtracciÓn

    Ecu De La Bomba De Combustible

    Ver más:

    Toyota Corolla Manual de Taller > Sistema Audiovisual (para Tipo Con Radio Y Pantalla): Se produce ruido o hay saltos de sonido si se utiliza un reproductor portátil
    PRECAUCIÓN / AVISO / OBSERVACIÓN OBSERVACIÓN: Lleve a cabo esta comprobación con el volumen del reproductor portátil ajustado en un nivel adecuado. Asegúrese de que no existen obstrucciones entre el reproductor portátil y el conjunto del receptor de radio y pantalla que puedan bloquear las se ...

    Toyota Corolla Manual del propetario

    Toyota Corolla Manual de Taller

    © 2025 Copyright www.tocores.net
    0.0077