Toyota Corolla Manual de Taller: ExtracciÓn

EXTRACCIÓN

PROCEDIMIENTO

1. EXTRAIGA EL CONJUNTO DEL TUBO DE ASPIRACIÓN DE COMBUSTIBLE CON BOMBA Y MEDIDOR

Haga clic aquí

2. DRENE EL COMBUSTIBLE

3. EXTRAIGA EL CONJUNTO DEL TUBO DE ESCAPE DELANTERO (TWC: Catalizador delantero y trasero)

Haga clic aquí

4. EXTRAIGA EL PROTECTOR DEL DEPÓSITO DE COMBUSTIBLE N° 1

(a) Extraiga los 5 pernos y el protector del depósito de combustible n° 1.

5. SEPARE EL CONJUNTO DEL CABLE DEL FRENO DE ESTACIONAMIENTO

(a) Extraiga los 4 pernos y separe el conjunto del cable del freno de estacionamiento n° 2 y el conjunto del cable del freno de estacionamiento n° 3.

6. DESCONECTE EL SUBCONJUNTO DE LA MANGUERA DE VENTILACIÓN DEL DEPÓSITO DE COMBUSTIBLE

(a) Tire del retén para extraer las garras de bloqueo y saque el subconjunto de la manguera de ventilación del depósito de combustible.

*a

Retén

Tirar

Sacar

AVISO:

  • Antes de realizar esta operación, elimine la suciedad y las partículas extrañas del subconjunto de la manguera de ventilación del depósito de combustible.
  • Debe evitar arañar o ensuciar las piezas al desconectarlas ya que el subconjunto de la manguera de ventilación del depósito de combustible tiene una junta tórica que sella el tubo de combustible.
  • Desconecte únicamente el subconjunto de la manguera de ventilación del depósito de combustible con la mano.
  • No doble, deforme ni gire el subconjunto de la manguera de ventilación del depósito de combustible.

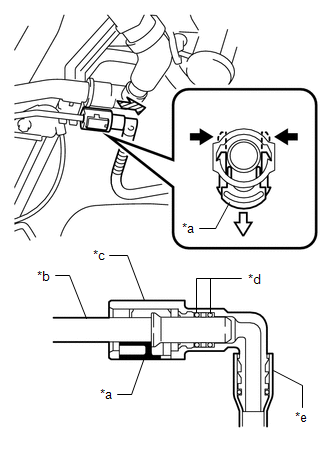
7. DESCONECTE EL TUBO DE VENTILACIÓN DEL DEPÓSITO DE COMBUSTIBLE

(a) Desconecte el tubo de aireación del depósito de combustible.

(1) Desenganche las 2 garras del retén. Tire hacia fuera el retén y desconecte el conector del tubo de combustible del tubo de combustible.

*a

Retén

*b

Tubo de combustible

*c

Conector del tubo de combustible

*d

Junta tórica

*e

Tubo de nailon

Empujar

Tirar

Sacar

AVISO:

  • Antes de realizar esta operación, elimine la suciedad y las partículas extrañas del conector del tubo de combustible y del tubo de combustible.
  • Asegúrese de desconectar el conector de la tubería de combustible con la mano.

(2) Si el conector de la tubería de combustible y el tubo de combustible están atascados, empuje y tire del conector de la tubería de combustible para soltarlo. Extraiga con cuidado el conector del tubo de combustible del tubo de combustible.

AVISO:

  • Asegúrese de desconectar el conector de la tubería de combustible con la mano.
  • Debe evitar que se produzcan arañazos o que se adhieran partículas extrañas a las piezas al desconectarlas, ya que el conector de la tubería de combustible cuenta con juntas tóricas que sellan el tubo de combustible.
  • Procure no doblar, retorcer ni curvar a la fuerza el tubo de nailon.

(3) Compruebe si hay partículas extrañas en las superficies de sellado de las tuberías de combustible desconectadas. Límpielos si es necesario.

(4) Cubra el tubo de combustible desconectado y el conector de la tubería de combustible con bolsas de plástico para evitar que se dañen o se ensucien.

(b) Desenganche la abrazadera y desconecte el tubo de ventilación del depósito de combustible.

8. DESCONECTE EL SUBCONJUNTO DEL TUBO PRINCIPAL DEL DEPÓSITO DE COMBUSTIBLE

(a) Desconecte el subconjunto del tubo principal del depósito de combustible.

(1) Tire del retén para extraer las garras de bloqueo y saque el conector del tubo de combustible.

*a

Retén

*b

Junta tórica

*c

Conector del tubo de combustible

*d

Tubo de combustible

Tirar

Sacar

AVISO:

  • Antes de realizar esta operación, elimine la suciedad y las partículas extrañas del conector del tubo de combustible y del tubo de combustible.
  • Asegúrese de desconectar el conector de la tubería de combustible con la mano.

(2) Si el conector de la tubería de combustible y el tubo de combustible están atascados, empuje y tire del conector de la tubería de combustible para soltarlo. Extraiga con cuidado el conector del tubo de combustible del tubo de combustible.

AVISO:

  • Asegúrese de desconectar el conector de la tubería de combustible con la mano.
  • Debe evitar que se produzcan arañazos o que se adhieran partículas extrañas a las piezas al desconectarlas, ya que el conector de la tubería de combustible cuenta con juntas tóricas que sellan el tubo de combustible.

(3) Compruebe si hay partículas extrañas en las superficies de sellado de las tuberías de combustible desconectadas. Límpielos si es necesario.

(4) Cubra el tubo de combustible desconectado y el conector de la tubería de combustible con bolsas de plástico para evitar que se dañen o se ensucien.

9. DESCONECTE DEL DEPÓSITO DE COMBUSTIBLE LA MANGUERA DEL TUBO DE LLENADO

(a) Desenganche la garra con un destornillador. A continuación retire la tapa del tubo de llenado del depósito de combustible del depósito de combustible a la manguera del tubo de llenado.

(b) Afloje la abrazadera y, a continuación, desconecte la manguera del tubo de llenado del depósito de combustible del conjunto de dicho depósito.

10. EXTRAIGA EL CONJUNTO DEL DEPÓSITO DE COMBUSTIBLE

(a) Sujete el conjunto del depósito de combustible con un elevador del motor.

OBSERVACIÓN:

Coloque el conjunto del depósito de combustible en horizontal con ayuda de accesorios de altura regulable y accesorios de elevación.

(b) Extraiga los 4 pernos, el subconjunto izquierdo de la banda del depósito de combustible n° 1 y el subconjunto derecho de la banda del depósito de combustible n° 1.

(c) Baje el elevador del motor para retirar el conjunto del depósito de combustible.

AVISO:

  • Tenga cuidado de que no se caiga el conjunto del depósito de combustible.
  • Cuando extraiga el conjunto del depósito de combustible, inclínelo levemente para evitar que interfiera con el brazo de la suspensión u otras piezas de su alrededor.

11. EXTRAIGA EL AMORTIGUADOR DEL DEPÓSITO DE COMBUSTIBLE

(a) Extraiga los 2 amortiguadores n° 1, el amortiguador n° 2 y el amortiguador n° 3 del depósito de combustible del conjunto del depósito de combustible.

*1

Amortiguador del depósito de combustible n° 1

*2

Amortiguador del depósito de combustible n° 2

*3

Amortiguador del depósito de combustible n° 3

12. EXTRAIGA EL SUBCONJUNTO DEL TUBO PRINCIPAL DEL DEPÓSITO DE COMBUSTIBLE

(a) Extraiga el subconjunto del tubo principal del depósito de combustible del conjunto del depósito de combustible.

13. EXTRAIGA EL SUBCONJUNTO DE LA MANGUERA DE VENTILACIÓN DEL DEPÓSITO DE COMBUSTIBLE

(a) Extraiga el subconjunto de la manguera de ventilación del depósito de combustible de la abrazadera del depósito de combustible.

    Componentes

    InstalaciÓn

    Ver más:

    Toyota Corolla Manual de Taller > Sistema De Aire Acondicionado (para Sistema De Aire Acondicionado Automático): Circuito del solenoide del compresor (B1451/51)
    DESCRIPCIÓN 1, para 2ZR-FE En este circuito, el conjunto del compresor con polea (solenoide del compresor) recibe una señal de demanda de compresión del refrigerante desde el conjunto del amplificador del aire acondicionado. En función de esta señal, el conjunto del compresor con polea (solenoi ...

    Toyota Corolla Manual del propetario

    Toyota Corolla Manual de Taller

    © 2025 Copyright www.tocores.net
    0.0103