Toyota Corolla Manual de Taller: InstalaciÓn

INSTALACIÓN

PROCEDIMIENTO

1. INSTALE EL CONJUNTO DEL CONTROLADOR DE CARRERA DE LA VÁLVULA VARIABLE CONTINUA

OBSERVACIÓN:

Lleve a cabo la "Inspección después de la reparación" después de sustituir el conjunto del controlador de carrera de la válvula variable continua.

Haga clic aquí

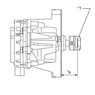
(a) Mida la longitud del saliente del conjunto del controlador de la carrera de la válvula variable continua.

Longitud estándar del saliente:

34.57 a 34.73 mm (1.36 a 1.37 pulg.)

OBSERVACIÓN:

  • Cuando vuelva a colocar el conjunto del controlador de carrera de la válvula variable continua, realice la medición luego de instalar el conector del actuador de control de carrera de la válvula
  • No es necesario realizar esta medición al instalar un nuevo conjunto del controlador de carrera de la válvula variable continua, ya que la longitud saliente es 34.57 a 34.73 mm (1.36 a 1.37 pulg.).
  • Si la longitud del saliente del conjunto del controlador de carrera de la válvula variable continua no es de 34.57 a 34.73 mm (1.36 a 1.37 pulg.), lleve a cabo la prueba activa y ajuste la longitud del saliente al valor especificado.

    Haga clic aquí

*1

Conector del actuador de control de carrera de la válvula

*a

Longitud del saliente

(b) Instale una junta tórica nueva en el conjunto del controlador de carrera de la válvula variable continua.

AVISO:

  • Alinee el saliente de la junta tórica con el saliente del conjunto del controlador de carrera de la válvula variable continua.
  • Asegúrese de que la junta tórica no sobresalga de la ranura del conjunto del controlador de carrera de la válvula variable continua.

*1

Junta tórica

*a

Saliente

(c) Gire el cigüeñal en el sentido de las agujas del reloj para replegar el conjunto del eje de balancines de la válvula.

(d) Gire nuevamente el cigüeñal en el sentido de las agujas del reloj hasta que la posición del árbol de levas de admisión en el cilindro n° 1 y n° 3 sea la que se muestra en la ilustración.

*a

Cilindro n° 1

*b

Cilindro n° 3

(e) Instale el clip del conector del actuador de control de carrera de la válvula en el conector del actuador de control de carrera de la válvula.

AVISO:

Asegúrese de introducir los salientes del clip del conector del actuador de control de carrera de la válvula en los orificios del conector del actuador de control de carrera de la válvula.

OBSERVACIÓN:

Se suministra un nuevo conjunto del controlador de carrera de la válvula variable continua con el conector del actuador de control de carrera de la válvula instalado. Asegúrese de extraer el conector del actuador de control de carrera de la válvula antes de realizar la instalación.

(f) Coloque el conector del actuador de control de carrera de la válvula en el conjunto del eje de balancines de la válvula.

(g) Inserte el conjunto del controlador de carrera de la válvula variable continua en el subconjunto del alojamiento del árbol de levas.

(h) Inserte el conjunto del controlador de carrera de la válvula variable continua en el subconjunto del alojamiento del árbol de levas con el perno.

Torque:

18 N·m {184 kgf·cm, 13 ft·lbf}

AVISO:

  • Asegúrese de que la junta tórica no quede atrapada entre las piezas.
  • Si el conjunto del controlador de carrera de la válvula variable continua ha sido golpeado o se ha caído, sustitúyalo.

(i) Instale el soporte de la abrazadera del mazo de cables en el subconjunto del alojamiento del árbol de levas con las 2 tuercas.

Torque:

18 N·m {184 kgf·cm, 13 ft·lbf}

(j) Con un destornillador, deslice el clip del conector del actuador de control de carrera de la válvula del conector del actuador de control de carrera de la válvula.

AVISO:

Deslice únicamente la parte superior del clip del conector del actuador de control de carrera de la válvula, ya que el pasador recto caerá desde la parte inferior si se extrae por completo el clip del conector del actuador de control de carrera de la válvula.

(k) Haga palanca ligeramente con 2 destornilladores en el conector del actuador de control de carrera de la válvula y alinee el orificio en el conector del actuador de control de carrera de la válvula con el orificio en el conjunto del controlador de carrera de carrera de la válvula variable continua.

AVISO:

  • No fuerce al hacer palanca en el conector del actuador de control de carrera de la válvula.
  • No dañe el subconjunto del alojamiento del árbol de levas ni el sombrerete del árbol de levas.

(l) Introduzca el pasador recto en el conector del actuador de control de carrera de la válvula.

AVISO:

No utilice una herramienta para insertar el pasador recto. Inserte el pasador recto con la mano.

OBSERVACIÓN:

Si el pasador recto resulta difícil de insertar, inserte el pasador ligeramente haciendo palanca en el conector del actuador de control de carrera de la válvula.

*1

Conjunto del controlador de carrera de la válvula variable continua

*2

Conector del actuador de control de carrera de la válvula

*3

Clip del conector del actuador de control de carrera de la válvula

*4

Conjunto del eje de balancines de la válvula

*5

Pasador recto

(m) Utilice un destornillador para instalar el clip del conector del actuador de control de carrera de la válvula en el conector del actuador de control de carrera de la válvula.

AVISO:

Introduzca el saliente del clip del conector del actuador de control de carrera de la válvula en el orificio del conector del actuador de control de la válvula.

2. INSTALE LA JUNTA DE LA TAPA DE LA CULATA

Haga clic aquí

3. INSTALE EL SUBCONJUNTO DE LA TAPA DE LA CULATA

Haga clic aquí

4. INSTALE EL CONJUNTO DE LA VÁLVULA DE CONMUTACIÓN DE VACÍO N° 1

(a) Instale el conjunto de la válvula de conmutación de vacío n° 1 en el subconjunto de la tapa de la culata con los 2 pernos.

Torque:

10 N·m {102 kgf·cm, 7 ft·lbf}

AVISO:

Asegúrese de que no hay aceite en las roscas del perno (A).

(b) Conecte la manguera de suministro de vapor de combustible al conjunto de la válvula de conmutación de vacío n° 1 y deslice el clip para fijarlo.

(c) Coloque la manguera de alimentación de vapor de combustible n° 1 en el colector de admisión.

5. INSTALE EL CONJUNTO DE LA BOBINA DE ENCENDIDO

(a) Instale los 4 conjuntos de bobinas de encendido en el subconjunto de la tapa de la culata con los 4 pernos.

Torque:

10 N·m {102 kgf·cm, 7 ft·lbf}

6. CONECTE EL CABLE DEL MOTOR

(a) Conecte el cable del motor con los 3 pernos y las 2 tuercas.

Torque:

8.4 N·m {86 kgf·cm, 74 in·lbf}

(b) Enganche las 9 abrazaderas y conecte los 22 conectores.

7. INSTALE LA BATERÍA

Haga clic aquí

8. INSTALE EL SUBCONJUNTO DE LA CAJA DEL DEPURADOR DE AIRE

Haga clic aquí

9. INSTALE LA TAPA DEL DEPURADOR DE AIRE CON SU MANGUERA

Haga clic aquí

10. VERIFIQUE SI HAY FUGAS DE ACEITE DE MOTOR

Haga clic aquí

11. COLOQUE LA TAPA DE LA CULATA N° 2

Haga clic aquí

12. EFECTÚE LA INICIALIZACIÓN

(a) Lleve a cabo la "Inspección después de la reparación" después de sustituir el conjunto del controlador de carrera de la válvula variable continua.

Haga clic aquí

    ExtracciÓn

    Cuerpo De La Mariposa

    Ver más:

    Toyota Corolla Manual de Taller > Sistema De Medidores / Indicadores: La iluminación del medidor no se atenúa de noche
    DESCRIPCIÓN En este circuito, el conjunto del juego de instrumentos recibe señales de graduación automática de las luces desde la ECU principal de la carrocería (ECU de la carrocería de la red múltiplex) mediante el sistema de comunicación CAN. Cuando el conjunto del juego de instrumentos re ...

    Toyota Corolla Manual del propetario

    Toyota Corolla Manual de Taller

    © 2025 Copyright www.tocores.net
    0.0117