Toyota Corolla Manual de Taller: InspecciÓn

INSPECCIÓN

PROCEDIMIENTO

1. INSPECCIONE EL CONJUNTO DEL INTERRUPTOR MAESTRO DEL REGULADOR DEL ELEVALUNAS ELÉCTRICO

(a) Compruebe la función del interruptor.

(1) Coloque el interruptor de bloqueo de ventanillas en la posición OFF y accione los interruptores del conjunto del interruptor maestro del regulador del elevalunas eléctrico.

(2) Mida la resistencia según los valores de la siguiente tabla.

Resistencia estándar:

Interruptor del lado del conductor

Conexión del tester

Estado

Valor especificado

4 (A) - 1 (E)

Subida automática

Inferior a 1 Ω

8 (U) - 1 (E)

Subida automática

Inferior a 1 Ω

8 (U) - 1 (E)

Subida manual

Inferior a 1 Ω

5 (D) - 1 (E)

Bajada manual

Inferior a 1 Ω

4 (A) - 1 (E)

Bajada automática

Inferior a 1 Ω

5 (D) - 1 (E)

Bajada automática

Inferior a 1 Ω

Resistencia estándar:

Interruptor del lado del pasajero delantero

Conexión del tester

Estado

Valor especificado

6 (B) - 16 (U)

Arriba

Inferior a 1 Ω

1 (E) - 15 (D)

Arriba

Inferior a 1 Ω

1 (E) - 16 (U)

Desactivado

Inferior a 1 Ω

1 (E) - 15 (D)

Desactivado

Inferior a 1 Ω

1 (E) - 16 (U)

Abajo

Inferior a 1 Ω

6 (B) - 15 (D)

Abajo

Inferior a 1 Ω

Resistencia estándar:

Interruptor lateral trasero izquierdo

Conexión del tester

Estado

Valor especificado

6 (B) - 12 (U)

Arriba

Inferior a 1 Ω

1 (E) - 13 (D)

Arriba

Inferior a 1 Ω

1 (E) - 13 (D)

Desactivado

Inferior a 1 Ω

1 (E) - 12 (U)

Desactivado

Inferior a 1 Ω

6 (B) - 13 (D)

Abajo

Inferior a 1 Ω

1 (E) - 12 (U)

Abajo

Inferior a 1 Ω

Resistencia estándar:

Interruptor lateral trasero derecho

Conexión del tester

Estado

Valor especificado

6 (B) - 10 (U)

Arriba

Inferior a 1 Ω

1 (E) - 18 (D)

Arriba

Inferior a 1 Ω

1 (E) - 18 (D)

Desactivado

Inferior a 1 Ω

1 (E) - 10 (U)

Desactivado

Inferior a 1 Ω

6 (B) - 18 (D)

Abajo

Inferior a 1 Ω

1 (E) - 10 (U)

Abajo

Inferior a 1 Ω

Si el resultado no es el especificado, reemplace el conjunto del interruptor maestro del regulador del elevalunas eléctrico.

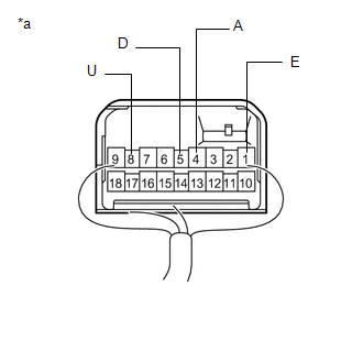
*a

Componente no conectado al mazo de cables

(Conjunto del interruptor maestro del regulador del elevalunas eléctrico)

(b) Compruebe si el LED se enciende.

(1) Aplique tensión de la batería al conjunto del interruptor maestro del regulador del elevalunas eléctrico y compruebe si los LED se encienden.

OK:

Condición de medida

Valor especificado

Terminal positivo (+) de la batería → Terminal 3 (LED)

Terminal negativo (-) de la batería → Terminal 1 (E)

Los indicadores LED se iluminan

Si el resultado no es el especificado, reemplace el conjunto del interruptor maestro del regulador del elevalunas eléctrico.

*a

Componente no conectado al mazo de cables

(Conjunto del interruptor maestro del regulador del elevalunas eléctrico)

(c) Compruebe la función del interruptor.

(1) Conecte de nuevo el conjunto del interruptor maestro del regulador del elevalunas eléctrico.

(2) Mida la tensión según los valores de la siguiente tabla.

Tensión estándar:

Conexión del tester

Estado

Valor especificado

8 (U) - 1 (E)

Interruptor de encendido conectado, interruptor del regulador del elevalunas eléctrico de la puerta del conductor desconectado

11 a 14 V

8 (U) - 1 (E)

Interruptor de encendido en posición ON, interruptor del regulador del elevalunas eléctrico de la puerta del conductor hacia arriba (posición AUTO UP)

Inferior a 1 V

8 (U) - 1 (E)

Interruptor de encendido en posición ON, interruptor del regulador del elevalunas eléctrico de la puerta del conductor hacia arriba (funcionamiento manual)

Inferior a 1 V

4 (A) - 1 (E)

Interruptor de encendido conectado, interruptor del regulador del elevalunas eléctrico de la puerta del conductor desconectado

11 a 14 V

4 (A) - 1 (E)

Interruptor de encendido en posición ON, interruptor del regulador del elevalunas eléctrico de la puerta del conductor hacia arriba (posición AUTO UP)

Inferior a 1 V

4 (A) - 1 (E)

Interruptor de encendido en posición ON, interruptor del regulador del elevalunas eléctrico de la puerta del conductor hacia abajo (posición AUTO DOWN)

Inferior a 1 V

5 (D) - 1 (E)

Interruptor de encendido conectado, interruptor del regulador del elevalunas eléctrico de la puerta del conductor desconectado

11 a 14 V

5 (D) - 1 (E)

Interruptor de encendido en posición ON, interruptor del regulador del elevalunas eléctrico de la puerta del conductor hacia abajo (posición AUTO DOWN)

Inferior a 1 V

5 (D) - 1 (E)

Interruptor de encendido en posición ON, interruptor del regulador del elevalunas eléctrico de la puerta del conductor hacia abajo (funcionamiento manual)

Inferior a 1 V

Si el resultado no es el especificado, reemplace el conjunto del interruptor maestro del regulador del elevalunas eléctrico.

*a

Componente conectado al mazo de cables

(Conjunto del interruptor maestro del regulador del elevalunas eléctrico)

    ExtracciÓn

    InstalaciÓn

    Ver más:

    Toyota Corolla Manual de Taller > Sistema Sfi: Rendimiento del sistema del actuador del balancín "A" o motor bloqueado en posición OFF (banco 1) (P2646,P2647)
    DESCRIPCIÓN La EDU en el conjunto del controlador de carrera de la válvula variable continua envía una solicitud de activación del motor y suministra corriente al motor. N° de DTC Elemento detectado Condición de detección del DTC Área afectada MIL Memoria Nota P2646 Rendimiento del sistema d ...

    Toyota Corolla Manual del propetario

    Toyota Corolla Manual de Taller

    © 2025 Copyright www.tocores.net
    0.0089